开启辅助访问
QQ登录|帐号登录 |注册个账号

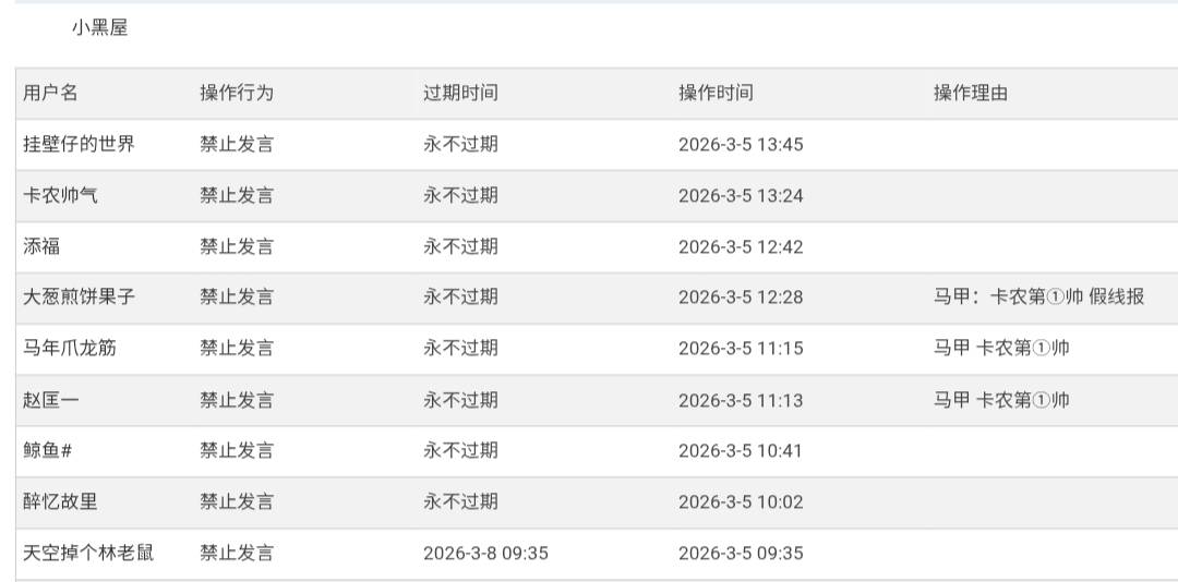
一衰这个挂壁仔封禁了吧@赵匡一 @马年爪龙筋 @大葱煎饼果子

 
一衰这个挂壁仔封禁了吧@赵匡一 @马年爪龙筋 @大葱煎饼果子
一衰这个挂壁仔封禁了吧@赵匡一 @马年爪龙筋 @大葱煎饼果子 

16 / 作者:浪仔小牛 /

推荐产品

9 个回复

倒序浏览
浪仔小牛  卡圣 推荐 | 2026-3-5 13:54 | 来自wap | 显示全部楼层
这是她咸鱼一衰这个挂壁仔封禁了吧@赵匡一 @马年爪龙筋 @大葱煎饼果子 

72 / 作者:浪仔小牛 / 一衰这个挂壁仔封禁了吧@赵匡一 @马年爪龙筋 @大葱煎饼果子 

42 / 作者:浪仔小牛 /
一衰这个挂壁仔封禁了吧@赵匡一 @马年爪龙筋 @大葱煎饼果子 

88 / 作者:浪仔小牛 /
美食作家玉刚  教父 捧场王 | 2026-3-5 13:54 | 来自wap | 显示全部楼层
我没布鞋  老祖 补刀客 | 2026-3-5 13:56 | 来自wap | 显示全部楼层
sc彭于晏  卡圣 亮了 | 2026-3-5 13:57 | 来自wap | 显示全部楼层
底裤都被你们扒出来了
凤鸣  真君 #6 | 2026-3-5 13:58 | 来自wap | 显示全部楼层
鼠莲这小子呢?一衰这个挂壁仔封禁了吧@赵匡一 @马年爪龙筋 @大葱煎饼果子 

82 / 作者:凤鸣 /
尴尬不失礼貌  卡尊 #7 | 2026-3-5 13:59 | 来自wap | 显示全部楼层
好解气,这货脑袋有问题
普宁特邀演员达濠  教父 #8 | 2026-3-5 14:05 | 来自wap | 显示全部楼层
孽灭  天王 #9 | 2026-3-5 14:11 | 来自wap | 显示全部楼层
这货跟天空林老鼠有的一比哈哈,次次开好几个号!再探再报!
孽灭  天王 #10 | 2026-3-5 14:40 | 来自wap | 显示全部楼层
@还我钱好 查这只最新的林老鼠封没封,自投罗网来了

快速回复

您需要登录后才可以回帖 登录 or 注册个账号

本版积分规则

app下载