开启辅助访问
QQ登录|帐号登录 |注册个账号

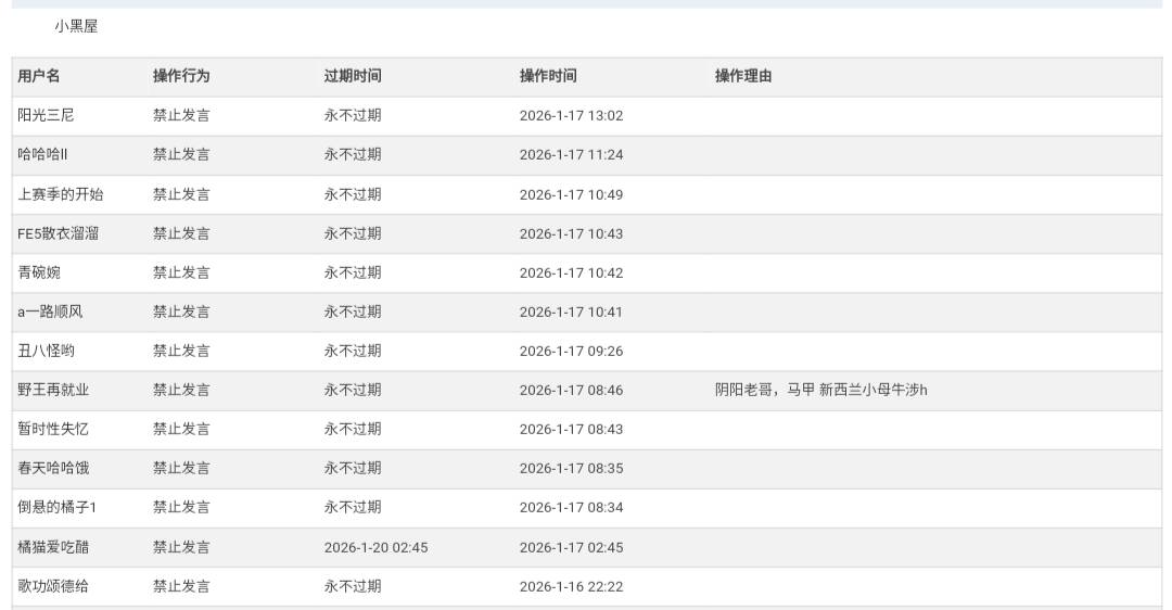
@野王再就业 阴阳老哥永久封禁 @新西兰小母牛 这个是小号

 
@野王再就业 阴阳老哥永久封禁
@新西兰小母牛 这个是小号@野王再就业 阴阳老哥永久封禁
@新西兰小母牛 这个是小号

96 / 作者:浪仔小牛 / @野王再就业 阴阳老哥永久封禁
@新西兰小母牛 这个是小号

25 / 作者:浪仔小牛 /
@野王再就业 阴阳老哥永久封禁
@新西兰小母牛 这个是小号

47 / 作者:浪仔小牛 /

推荐产品

2 个回复

倒序浏览
深汕大道  天王 捧场王 | 2026-1-17 13:17 | 来自wap | 显示全部楼层
这个狗洞溪经常yy早该封了    挂壁玩意一个
都挺好的回想q  违规,请查阅规范 神评 | 2026-1-17 13:18 | 来自wap | 显示全部楼层
这个狗洞溪干啥了

快速回复

您需要登录后才可以回帖 登录 or 注册个账号

本版积分规则

app下载