开启辅助访问
QQ登录|帐号登录 |注册个账号

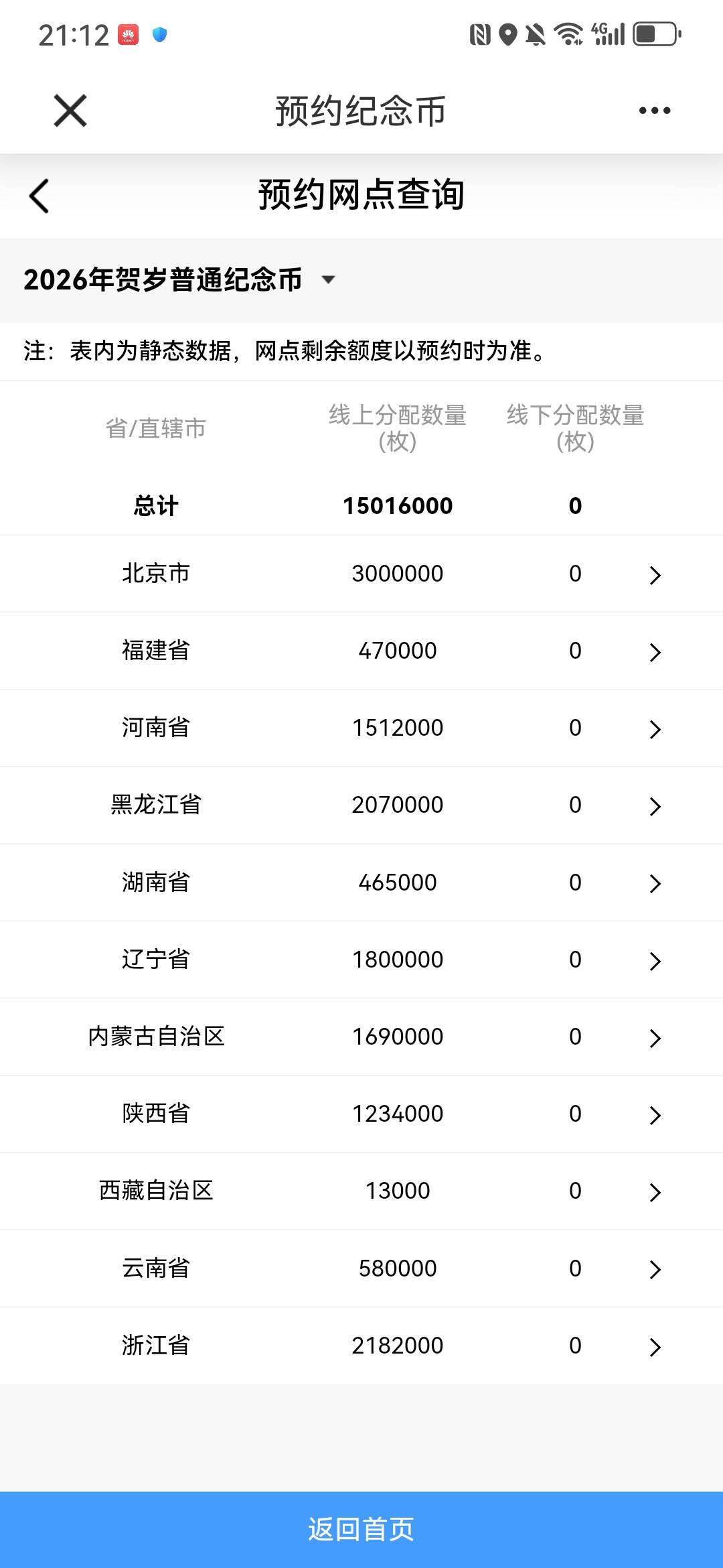
黑龙江的老哥有福了,人这么少还这么多份,应该很轻松

 
黑龙江的老哥有福了,人这么少还这么多份,应该很轻松

推荐产品

3 个回复

倒序浏览
秋萤  教父 捧场王 | 2026-1-13 21:14 | 来自wap | 显示全部楼层
他是按照往年的预约的数据分配的,他给的数量多,就代表往年预约的也多。竞争还是强。
搞钱!  天王 神评 | 2026-1-13 21:15 | 来自wap | 显示全部楼层
你是不知道东三省热度多高 轻松不了一点
微笑不失礼  天王 补刀客 | 2026-1-13 21:18 | 来自wap | 显示全部楼层
人少,隔壁城市也过来约你是不知道,东三省开玩笑嘛

快速回复

您需要登录后才可以回帖 登录 or 注册个账号

本版积分规则