开启辅助访问
QQ登录|帐号登录 |注册个账号

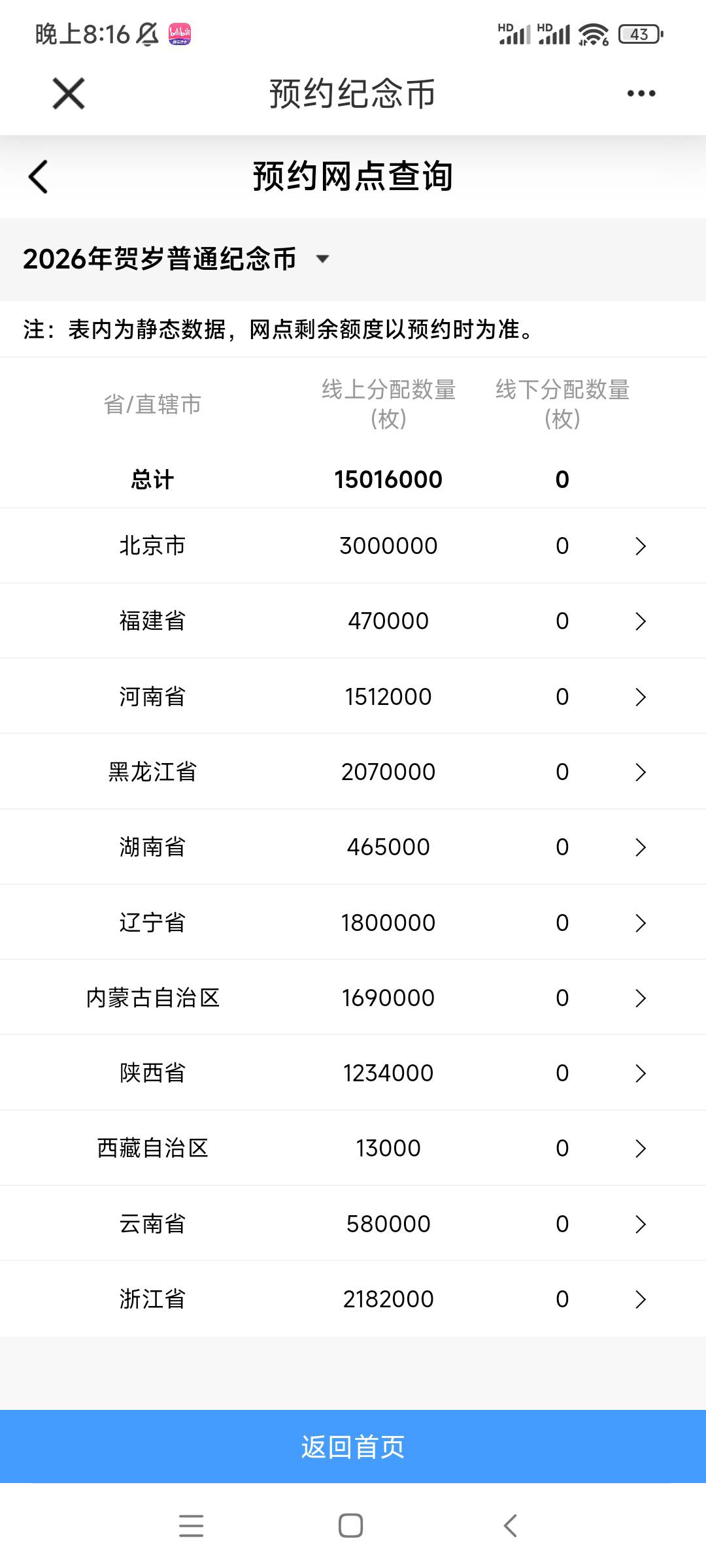
建行预约马币连江苏省都没吗

 
建行预约马币连江苏省都没吗
建行预约马币连江苏省都没吗

58 / 作者:QWERTY33 /

推荐产品

10 个回复

倒序浏览
QWERTY33  卡帝 捧场王 | 2026-1-13 20:18 | 来自wap | 显示全部楼层
哎呦我去农行怎么也没江苏
罗肉辰  天王 神评 | 2026-1-13 20:19 | 来自wap | 显示全部楼层
需要定位吗?还是选网点就行
QWERTY33  卡帝 补刀客 | 2026-1-13 20:19 | 来自wap | 显示全部楼层
罗肉辰 发表于 2026-01-13 20:19
需要定位吗?还是选网点就行

看下面各个网点额度
罗肉辰  天王 亮了 | 2026-1-13 20:20 | 来自wap | 显示全部楼层
QWERTY33 发表于 2026-01-13 20:19
看下面各个网点额度

这个我知道,我是说抢的时候会看你定位吗,还是自己选网点
QWERTY33  卡帝 #6 | 2026-1-13 20:21 | 来自wap | 显示全部楼层
罗肉辰 发表于 2026-01-13 20:20
这个我知道,我是说抢的时候会看你定位吗,还是自己选网点

不用定位自己选
陆羽  真君 #7 | 2026-1-13 20:21 | 来自wap | 显示全部楼层
广东也是没建行预约马币连江苏省都没吗

50 / 作者:陆羽 /
广东最后一次  真君 #8 | 2026-1-13 20:22 | 来自wap | 显示全部楼层
预约那个市好点,带带弟弟建行预约马币连江苏省都没吗

20 / 作者:广东最后一次 / 建行预约马币连江苏省都没吗

68 / 作者:广东最后一次 / 建行预约马币连江苏省都没吗

52 / 作者:广东最后一次 /
男儿豪气冲天  卡帝 #9 | 2026-1-13 20:29 | 来自wap | 显示全部楼层
广东最后一次 发表于 2026-01-13 20:22
预约那个市好点,带带弟弟

应该是搞一T钞一T币吧。
南昌彭于晏  卡尊 #10 | 2026-1-13 20:33 | 来自wap | 显示全部楼层
上海今年也没建行农行了
广东最后一次  真君 #11 | 2026-1-13 21:33 | 来自wap | 显示全部楼层

快速回复

您需要登录后才可以回帖 登录 or 注册个账号

本版积分规则

app下载