开启辅助访问
QQ登录|帐号登录 |注册个账号

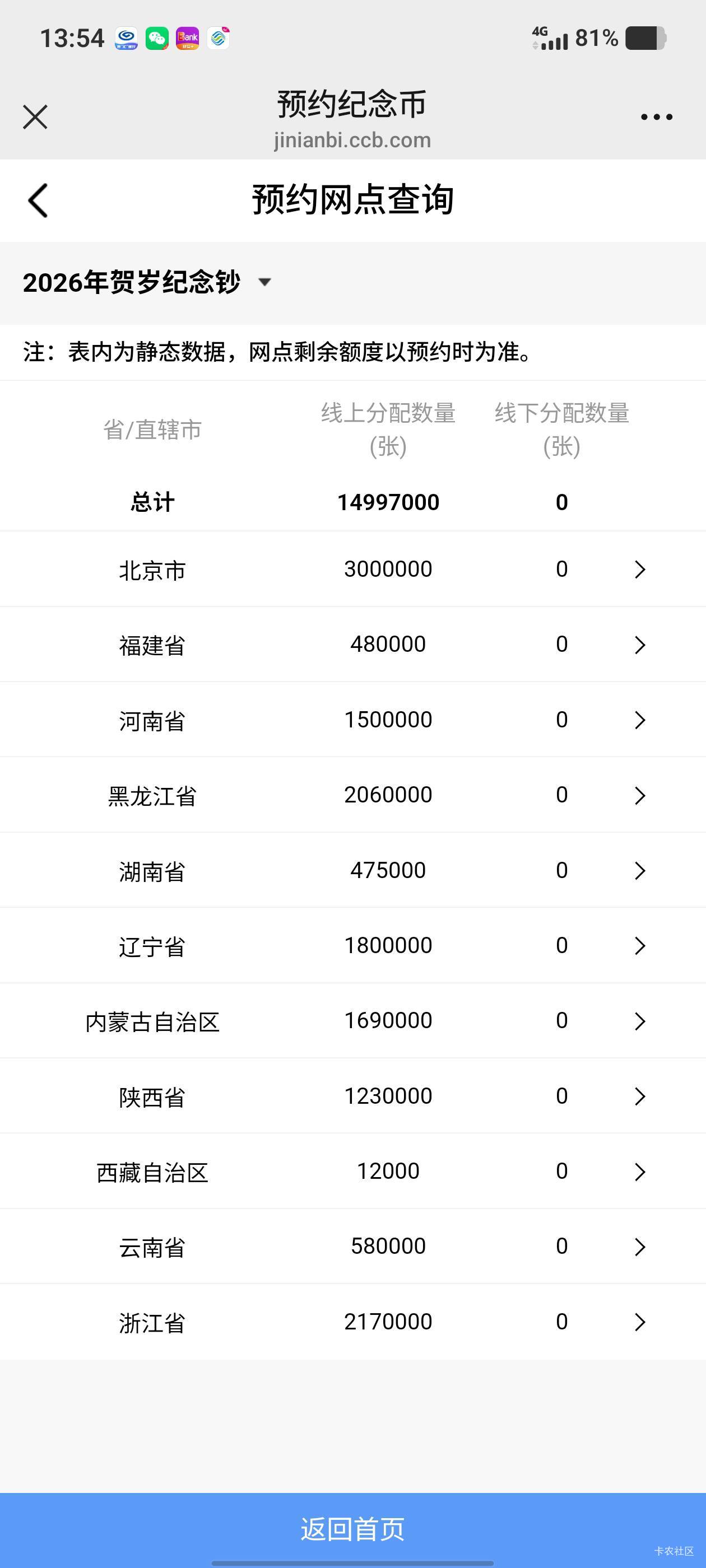
去年没抢到,今年估计又一样,湖南数量这么少,别的省都是上百w

 
去年没抢到,今年估计又一样,湖南数量这么少,别的省都是上百w
去年没抢到,今年估计又一样,湖南数量这么少,别的省都是上百w

71 / 作者:那年风月 /

推荐产品

7 个回复

倒序浏览
鹅鹅鹅鹅的神  卡帝 捧场王 | 2026-1-12 14:10 | 来自wap | 显示全部楼层
那年风月  教父 神评 | 2026-1-12 14:12 | 来自wap | 显示全部楼层
江东-华少  卡圣 补刀客 | 2026-1-12 14:20 | 来自wap | 显示全部楼层
抢最多的大网点
鹅鹅鹅鹅的神  卡帝 亮了 | 2026-1-12 14:27 | 来自wap | 显示全部楼层

但是有一说一,江苏咋没有去年没抢到,今年估计又一样,湖南数量这么少,别的省都是上百w

72 / 作者:鹅鹅鹅鹅的神 /
那年风月  教父 #6 | 2026-1-12 14:30 | 来自wap | 显示全部楼层
鹅鹅鹅鹅的神 发表于 2026-01-12 14:27
但是有一说一,江苏咋没有

每个地方银行都不同,我看的建设银行的
去年没抢到,今年估计又一样,湖南数量这么少,别的省都是上百w

55 / 作者:那年风月 /
男儿豪气冲天  卡帝 #7 | 2026-1-12 14:33 | 来自wap | 显示全部楼层
山东我看了农业银行啥都没有。
那年风月  教父 #8 | 2026-1-12 14:35 | 来自wap | 显示全部楼层
男儿豪气冲天 发表于 2026-01-12 14:33
山东我看了农业银行啥都没有。

老农入口都没,估计要到明天

快速回复

您需要登录后才可以回帖 登录 or 注册个账号

本版积分规则

app下载