开启辅助访问
QQ登录|帐号登录 |注册个账号

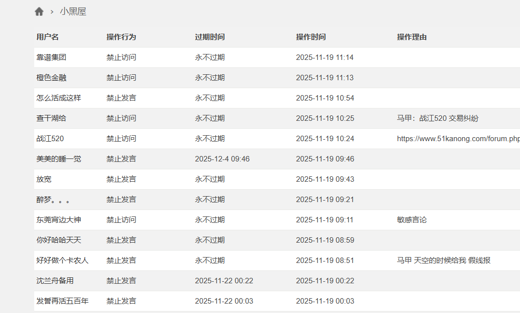
阿莲小号也封禁了

 
阿莲小号也封禁了
阿莲小号也封禁了


50 / 作者:神孙策 /
阿莲小号也封禁了


53 / 作者:神孙策 /

推荐产品

5 个回复

倒序浏览
莫问归期?  天王 捧场王 | 2025-11-19 11:24 | 来自wap | 显示全部楼层
硬涛现在的号是什么
普宁特邀演员达濠  卡帝 神评 | 2025-11-19 11:27 | 来自wap | 显示全部楼层
区委叔记  教父 补刀客 | 2025-11-19 11:30 | 来自wap | 显示全部楼层
霄边大神也没封了,实在没想到,哈哈
孽灭  天王 亮了 | 2025-11-19 11:31 | 来自wap | 显示全部楼层
哈哈几个号全干没了,也是自己作的,不长教训阿莲小号也封禁了


50 / 作者:孽灭 /
神抢单  教父 #6 | 2025-11-19 11:40 | 来自wap | 显示全部楼层

快速回复

您需要登录后才可以回帖 登录 or 注册个账号

本版积分规则

app下载